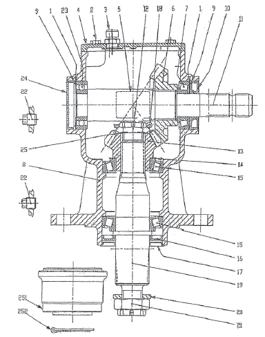
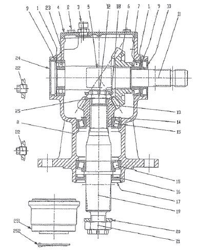
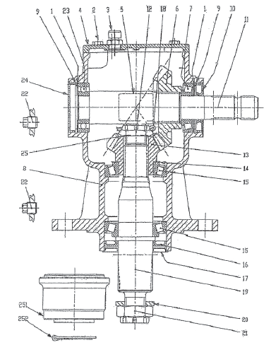
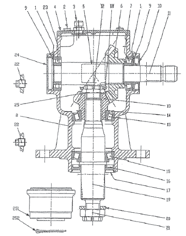
OUTPUT SHAFT
Brand: Shaver
Regular price
$136.50
Couldn't load pickup availability
OUTPUT SHAFT
